증강현실(AR)과 가상현실(VR) 시장 선점에 애플도 뛰어들었다.
미국 애플인사이더 등 외신에 따르면 최근 애플은 미국 특허상표청(USPTO)에 `증강 현실 지도(Augmented Reality Maps, 등록번호: 9,488,488)` 특허를 등록했다. 출원한 지 6년 만이다 해당 특허는 아이폰 내장 센서와 GPS를 이용해 주변 환경에 대한 실시간 증강 뷰를 제공하는 시스템이다.

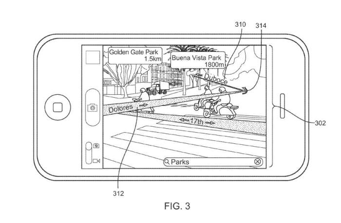
특허명세서에 따르면 아이폰과 같은 기기에서 지도를 이용할 때 가상의 경로를 화면에 실시간으로 보여준다. 거리 이름이나 건물 등의 정보는 영상 위에 표시한다. 마치 내비게이션처럼 목적지를 설정하면 경로를 안내하며 다양한 시점에서의 뷰를 제공한다. 또한 클라우드에서 유용한 데이터를 가져와 다양한 기능들을 수행한다. 예를 들어 잘못된 방향으로 가고 있거나 일방통행로를 지날 때는 경고 메시지를 보낸다.

이러한 증강현실 서비스를 제공하기 위해서는 다양한 기능이 필요하다. 우선 △내장 카메라 △GPS 연결 환경, 기기 위치를 인식하는 디지털 나침반 △카메라 기울기를 파악하는 가속도계 △장소·도로·건물 등 기타 장소 데이터를 받아 올 수 있는 인터넷 접속 환경이 갖춰져야 한다.
증강현실 지도 솔루션은 향후 iOS 운영체제에 들어갈 것이라는 전망이다.
※상세 내용은 IP노믹스 홈페이지(www.ipnomics.co.kr )에서 확인할 수 있습니다.
나유권 IP노믹스 기자 ykna@etnews.com



















