이르면 올 상반기 국내 스마트폰 시장에 복귀할 것으로 알려진 모토로라가 다소 특이한 폴더블(접는) 스마트폰 특허를 내놨다. 삼성전자 '갤럭시Z플립'을 안팎으로 뒤집은 듯한 디자인이다.

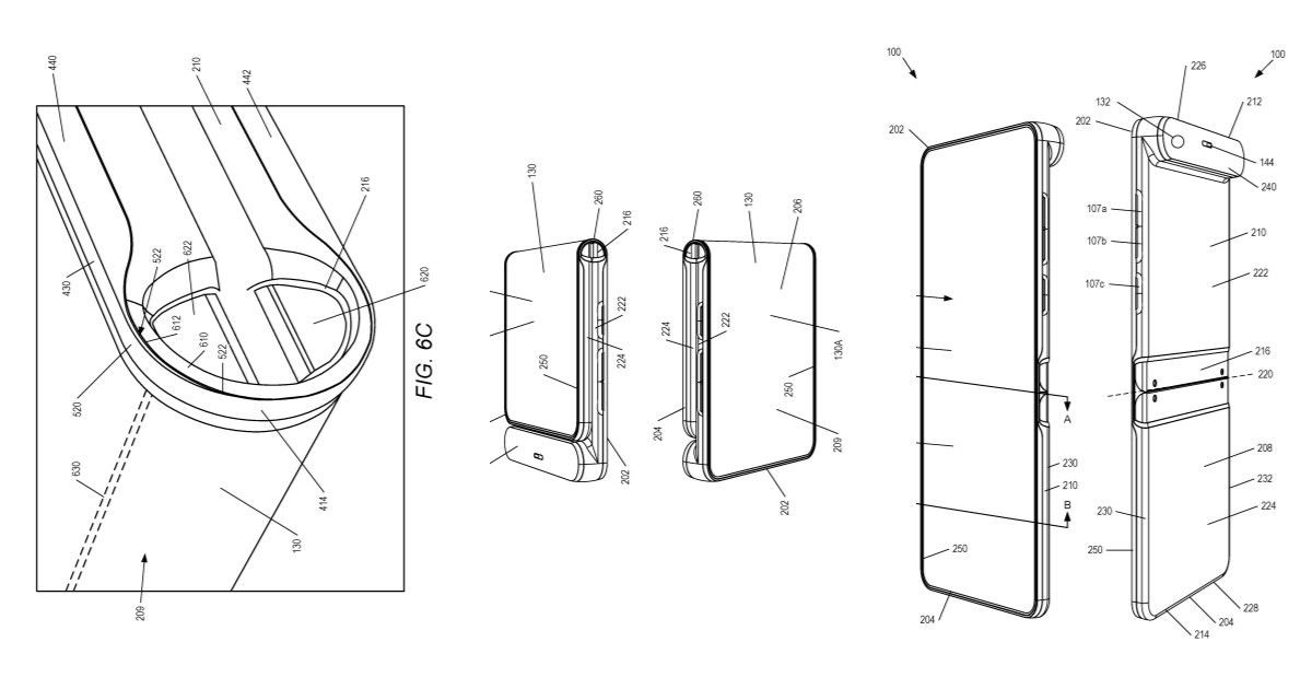
일반적인 폴더블과 달리 디스플레이를 바깥쪽으로 접는 '아웃폴딩' 방식이 적용됐다. 기기를 접으면 전후면 모두 화면이 노출된다. 접힌 화면의 반이 그대로 대형 커버 디스플레이가 된다.
카메라 모듈이 특징적이다. 같은 카메라를 전후면 카메라로 사용할 수 있다. 셀피 카메라가 따로 필요하지 않다.
화면을 바깥쪽으로 접는 아웃폴딩 방식은 파손에 취약하다는 단점이 있다. 접었을 때 전후면 모두 디스플레이가 노출돼 외부 충격에 민감하고 펼쳤을 때 주름이 부각된다. 최신 폴더블폰 대부분은 인폴딩 형태를 갖췄다.
미국 IT 전문매체 테크레이더는 “인폴딩 방식도 내구성 문제가 발생하는 상황”이라며 “(아웃폴딩은) 도저히 맘 편히 사용할 수 없다”고 평가했다.

모토로라 첫 폴더블폰은 지난 2019년 출시됐다. 한때 '베컴 폰'으로 명명됐던 레이저(razr) 시리즈 디자인을 계승했다. 이듬해 후속 모델인 '모토로라 레이저 5G'까지 내놨지만 기존 플래그십 모델 대비 낮은 성능과 높은 가격으로 흥행에는 실패했다.
모토로라는 올해 출시를 목표로 차세대 폴더블 '레이저3'를 개발 중인 것으로 알려졌다. 외신 보도를 종합하면 레이저3는 모바일 애플리케이션 프로세서(AP)로 퀄컴 '스냅드래곤8 Gen 1'을 탑재, 120Hz 화면 주사율을 지원할 전망이다. 업계는 3세대 레이저가 출시될 경우 유사한 폼팩터를 채택한 삼성 '갤럭시Z플립3' 등과 경쟁할 것으로 내다봤다.
한편 모토로라는 국내 스마트폰 시장 복귀를 준비 중이다. 최근 공식 홈페이지 내 선택 가능 국가에 대한민국을 추가했다. 제품 사후 지원을 위한 공인 서비스센터 구축도 진행한다. 이르면 상반기 중 한국 시장 철수 10여년 만에 신제품을 선보이고, 중저가 영역에서 삼성전자·샤오미 등과 경쟁을 펼칠 것으로 예상된다.

전자신문인터넷 양민하 기자 (mh.yang@etnews.com)



















